摘要:不过,目前L3缓存的3D V-Cache就已经要占用不少封装空间了,如果再堆叠更多的话,会不会……新闻2:最强游戏处理器 AMD Ryzen 7 9850X3D 被曝月底发售,1 月 28 日评测解禁1 月 15 日消息,AMD 在 CES 2026 正式发布 Ryzen 7 9850X3D,最强游戏处理器迎来升级,这是一款基于 Zen 5 架构的桌面处理器,拥有 8 核 16 线程,配备 96MB 的 L3 缓存,其中包括 64MB 的堆叠 3D V-Cache。该媒体为了更直观地体现这一性能水平,对比桌面级处理器p; 同样是在本次CES 2026上发布的新品之一,Ryzen AI MAX+ 392也有了新消息,一款搭载该芯片的华硕笔记本被曝光,其CPU部分性能已超过桌面端7900X,毕竟这也是一款12核的处理器,这实力还算值得肯定。
在CES 2022大展上,AMD推出了采用3D垂直缓存(3D V-Cache)技术的Zen 3架构Ryzen 7 5800X3D处理器,为每个CCD带来额外的64MB 7nm SRAM缓存,使得处理器的L3缓存容量由32MB增加到96MB,进一步提升了性能表现。在随后的几年里,AMD不断扩大X3D产品线,出色的游戏性能使其成为了DIY市场上炙手可热的产品。
据Wccftech报道,AMD在一篇名为《平衡延迟堆叠缓存(Balanced Latency Stacked Cache)》的研究论文中,探索在未来芯片的L2缓存加入3D堆叠,延迟可能优于传统设计。在美国商标和专利局(USPTO)公示中,对应的专利号为“US20260003794A1”。
在第一代3D V-Cache里,AMD将CCX翻转(由面向顶部改为面向底部),然后削去了顶部95%的硅,再将3D垂直缓存芯片安装在上面。到了第二代3D V-Cache,AMD对3D垂直缓存芯片进行了优化,同时CCX和3D垂直缓存芯片互换了位置。
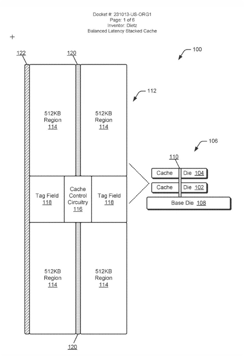
AMD展示了一种多层堆叠结构,基础芯片连接到计算模块和缓存模块,上方可以叠加多层缓存,示例中将四组512KB区域的缓存模块组成2MB的L缓存,另外还有一个CCC(缓存控制电路)。L2缓存复合体可根据需要扩展,示例里还能进一步扩展至4MB。
堆叠方法采用了与3D V-Cache相同的原理,利用硅通孔(TSV)将L2/L3堆叠连接到基础芯片和计算复合体,配置在堆叠缓存系统的中心垂直方向,缓存控制电路负责控制数据的输入和输出。
AMD使用了平面1 MB和2MB的L2缓存配置作为示例,指出前者的典型延迟为14个周期,后者的延迟为12个周期。新方法为访问请求提供了更低的延迟,数据从数据缓存返回的速度也更快。由于周期更短,还能节省电力,产生的热量也会更少。
AMD现在已经做到了3D堆叠L3缓存,也就是我们现在的3D V-Cache技术,那同样的思路为什么不能用在L1、L2缓存上呢?AMD显然也是这么想的,其新曝光的专利中就存在用于L2缓存的3D堆叠技术。不过,目前L3缓存的3D V-Cache就已经要占用不少封装空间了,如果再堆叠更多的话,会不会……
1 月 15 日消息,AMD 在 CES 2026 正式发布 Ryzen 7 9850X3D,最强游戏处理器迎来升级,这是一款基于 Zen 5 架构的桌面处理器,拥有 8 核 16 线程,配备 96MB 的 L3 缓存,其中包括 64MB 的堆叠 3D V-Cache。
据外媒 VideoCardz 今日报道,9850X3D 的评测样品已经向科技媒体发放,测试将在不久的将来开始,可能就在本周。
报道称,1 月 28 日,AMD 将解除 Ryzen 7 9850X3D 评测封锁;产品销售将于 1 月 29 日开始,一家法国零售商之前就透露了这一消息,外媒的报道进一步验证了信息的准确性。
泄露的信息也没有提及 Ryzen 9 9950X3D2,所以外媒认为该处理器不会与 9850X3D 一同发售。这是意料之中的,因为 AMD 在 CES 2026 上没有宣布这款产品,但 AMD 暗示它将在某个时候推出。
AMD 尚未确认 9850X3D 的定价。作为参考,Ryzen 7 9800X3D 的发售价为 3799 元。据IT之家此前报道,AMD 确认 9850X3D 和 9800X3D 将共存。
新专利什么时候真的能成为商品还不知道,但本世代最新的3D V-Cache处理器,CES 2026发布的R7 9850X3D又有了新消息,据传会在本月底1月29日开始销售。其实之前我们也说过,这款产品本质上和9800X3D没有太大区别,开售快也在情理之中,不知道大家怎么看呢?
1 月 15 日消息,科技媒体 Wccftech 昨日(1 月 14 日)发布博文,基于 GeekBench 跑分库数据,在华硕 TUF Gaming A14(型号 TX Air FA401EA)游戏本上,发现了 AMD Ryzen AI MAX+ 392 处理器的踪迹。
IT之家援引博文介绍,AMD Ryzen AI MAX+ 392 处理器采用了 12 核心 24 线程的 Zen 5 架构,加速频率可达 5.0 GHz,并集成了算力高达 50 TOPS 的 NPU。
值得注意的是,AMD 为该芯片配备了满血版 40 CU Radeon 8060S 核显,此外,该平台支持最高 128 GB 统一内存,测试机型更配备了 64 GB LPDDR5X-8000 高频内存。
Geekbench 6 的测试数据直观展示了这款移动端 SoC 的强悍实力,Ryzen AI MAX+ 392 取得了单核 2917 分、多核 18071 分的优异成绩。
该媒体为了更直观地体现这一性能水平,对比桌面级处理器:该成绩已超越 Ryzen 9 7900X(12 核桌面版)的 17740 分,并逼近 Ryzen 7 9800X3D 的 18347 分。考虑到移动端芯片在功耗与散热上的天然限制,这一表现足以证明 Strix Halo 架构极高的能效比。
同样是在本次CES 2026上发布的新品之一,Ryzen AI MAX+ 392也有了新消息,一款搭载该芯片的华硕笔记本被曝光,其CPU部分性能已超过桌面端7900X,毕竟这也是一款12核的处理器,这实力还算值得肯定。不过它那颗规模巨大的核显并没有带来什么跑分成绩,但本次曝光的产品似乎是TUF系列笔记本,看来是游戏产品?这颗大核显用于可以被用于游戏了啊!
暂无回复,快来抢沙发吧!
本次需消耗银元:
100
当前账户余额: 0 银元
新闻一:AMD探索未来L2缓存加入3D堆叠,延迟优于传统设计,能效会更高
在CES 2022大展上,AMD推出了采用3D垂直缓存(3D V-Cache)技术的Zen 3架构Ryzen 7 5800X3D处理器,为每个CCD带来额外的64MB 7nm SRAM缓存,使得处理器的L3缓存容量由32MB增加到96MB,进一步提升了性能表现。在随后的几年里,AMD不断扩大X3D产品线,出色的游戏性能使其成为了DIY市场上炙手可热的产品。
据Wccftech报道,AMD在一篇名为《平衡延迟堆叠缓存(Balanced Latency Stacked Cache)》的研究论文中,探索在未来芯片的L2缓存加入3D堆叠,延迟可能优于传统设计。在美国商标和专利局(USPTO)公示中,对应的专利号为“US20260003794A1”。
在第一代3D V-Cache里,AMD将CCX翻转(由面向顶部改为面向底部),然后削去了顶部95%的硅,再将3D垂直缓存芯片安装在上面。到了第二代3D V-Cache,AMD对3D垂直缓存芯片进行了优化,同时CCX和3D垂直缓存芯片互换了位置。
AMD展示了一种多层堆叠结构,基础芯片连接到计算模块和缓存模块,上方可以叠加多层缓存,示例中将四组512KB区域的缓存模块组成2MB的L缓存,另外还有一个CCC(缓存控制电路)。L2缓存复合体可根据需要扩展,示例里还能进一步扩展至4MB。
堆叠方法采用了与3D V-Cache相同的原理,利用硅通孔(TSV)将L2/L3堆叠连接到基础芯片和计算复合体,配置在堆叠缓存系统的中心垂直方向,缓存控制电路负责控制数据的输入和输出。
AMD使用了平面1 MB和2MB的L2缓存配置作为示例,指出前者的典型延迟为14个周期,后者的延迟为12个周期。新方法为访问请求提供了更低的延迟,数据从数据缓存返回的速度也更快。由于周期更短,还能节省电力,产生的热量也会更少。
AMD现在已经做到了3D堆叠L3缓存,也就是我们现在的3D V-Cache技术,那同样的思路为什么不能用在L1、L2缓存上呢?AMD显然也是这么想的,其新曝光的专利中就存在用于L2缓存的3D堆叠技术。不过,目前L3缓存的3D V-Cache就已经要占用不少封装空间了,如果再堆叠更多的话,会不会……
新闻2:最强游戏处理器 AMD Ryzen 7 9850X3D 被曝月底发售,1 月 28 日评测解禁
1 月 15 日消息,AMD 在 CES 2026 正式发布 Ryzen 7 9850X3D,最强游戏处理器迎来升级,这是一款基于 Zen 5 架构的桌面处理器,拥有 8 核 16 线程,配备 96MB 的 L3 缓存,其中包括 64MB 的堆叠 3D V-Cache。
据外媒 VideoCardz 今日报道,9850X3D 的评测样品已经向科技媒体发放,测试将在不久的将来开始,可能就在本周。
报道称,1 月 28 日,AMD 将解除 Ryzen 7 9850X3D 评测封锁;产品销售将于 1 月 29 日开始,一家法国零售商之前就透露了这一消息,外媒的报道进一步验证了信息的准确性。
泄露的信息也没有提及 Ryzen 9 9950X3D2,所以外媒认为该处理器不会与 9850X3D 一同发售。这是意料之中的,因为 AMD 在 CES 2026 上没有宣布这款产品,但 AMD 暗示它将在某个时候推出。
AMD 尚未确认 9850X3D 的定价。作为参考,Ryzen 7 9800X3D 的发售价为 3799 元。据IT之家此前报道,AMD 确认 9850X3D 和 9800X3D 将共存。
新专利什么时候真的能成为商品还不知道,但本世代最新的3D V-Cache处理器,CES 2026发布的R7 9850X3D又有了新消息,据传会在本月底1月29日开始销售。其实之前我们也说过,这款产品本质上和9800X3D没有太大区别,开售快也在情理之中,不知道大家怎么看呢?
新闻3:AMD Ryzen AI MAX+ 392 笔记本处理器曝光,多核跑分超桌面级 7900X
1 月 15 日消息,科技媒体 Wccftech 昨日(1 月 14 日)发布博文,基于 GeekBench 跑分库数据,在华硕 TUF Gaming A14(型号 TX Air FA401EA)游戏本上,发现了 AMD Ryzen AI MAX+ 392 处理器的踪迹。
IT之家援引博文介绍,AMD Ryzen AI MAX+ 392 处理器采用了 12 核心 24 线程的 Zen 5 架构,加速频率可达 5.0 GHz,并集成了算力高达 50 TOPS 的 NPU。
值得注意的是,AMD 为该芯片配备了满血版 40 CU Radeon 8060S 核显,此外,该平台支持最高 128 GB 统一内存,测试机型更配备了 64 GB LPDDR5X-8000 高频内存。
Geekbench 6 的测试数据直观展示了这款移动端 SoC 的强悍实力,Ryzen AI MAX+ 392 取得了单核 2917 分、多核 18071 分的优异成绩。
该媒体为了更直观地体现这一性能水平,对比桌面级处理器:该成绩已超越 Ryzen 9 7900X(12 核桌面版)的 17740 分,并逼近 Ryzen 7 9800X3D 的 18347 分。考虑到移动端芯片在功耗与散热上的天然限制,这一表现足以证明 Strix Halo 架构极高的能效比。
同样是在本次CES 2026上发布的新品之一,Ryzen AI MAX+ 392也有了新消息,一款搭载该芯片的华硕笔记本被曝光,其CPU部分性能已超过桌面端7900X,毕竟这也是一款12核的处理器,这实力还算值得肯定。不过它那颗规模巨大的核显并没有带来什么跑分成绩,但本次曝光的产品似乎是TUF系列笔记本,看来是游戏产品?这颗大核显用于可以被用于游戏了啊!